Stáhnout

Dvojité lineární mechanismy

GN 491

Dvojité lineární mechanismy

d

GN 491

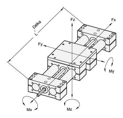
Fx [N]Fy [N] pro délku l =Fz [N] pro délku l =Mx [Nm]My [Nm]Mz [Nm]
5001000150050010001500
18425215110-10580-223540
308501100900550600350150100100100
4011003700280014002100600130150140170
5019003850240021003100700200180220290
60270069002700510063002800360320350500

GN 492


Dvojité lineární mechanismy

d

GN 492

Fx [N]Fy [N] pro délku l =Fz [N] pro délku l =Mx [Nm]My [Nm]Mz [Nm]
5001000150050010001500
18425290180-150105-425075
308501500130080070055050150150200
4011006400340019002400750230180210260
5019007500510027003400850340250350530
602700115009500820075003100610550650980

Zobrazené síly Fy a Fz způsobují ohyb vodicí trubky o přibližně 0,5 mm.


POPIS


Jezdec se pohybuje pomocí vodícího trapézového šroubu a vodicí matice. Jezdec je vedený dvěma rovnoběžnými chromovanými trubkami, což umožňuje velké zatížení a velké ohybové momenty, které mají být přenesené lineárním vedením.

Typ GN 492 lze rozšířit o dalšího jezdce a montážní desku.

Tyto dvojité lineární mechanismy byly navržené pro manuální ovládání ručními koly. Při správném mazání snesou vodící šrouby otáčky až 250 ot/min.

Přesnost polohování je 0,2 mm / 300 mm posuvu, maximální zpětná vůle je 0,1 mm.

Pro měření posuvu nebo k určení polohy mohu být osazeny digitálními ukazateli polohy DD52R / DD51 / DD52R-E / DD51-E. Požadované prodloužení koncového hřídele je umožněno montážními sadami GN 491.1.

Další informace naleznete v katalogových listech GN 491 / GN 492.

POPIS

Dvojité lineární mechanismy

GN 491 / GN 492

s pravým nebo levým závitem, jeden koncový hřídele nebo dva koncové hřídele.

Dvojité lineární mechanismy

POPIS

Dvojité lineární mechanismy

GN 493 / GN 494

s pravým a levým závitem, jeden koncový hřídele nebo dva koncové hřídele, oba jezdci se pohybují symetricky.

Na poptávku:

Dvojité lineární mechanismy

GN 493 / GN 494

Dvojité lineární mechanismy

POPIS

Dvojité lineární mechanismy

GN 495 / GN 496

se dvěma samostatnými vodícími šrouby, každý s pravým nebo levým závitem, oba jezdci se pohybují nezávisle na sobě.

Na poptávku:

Dvojité lineární mechanismy

GN 495 / GN 496.

Dvojité lineární mechanismy