Při výběru vhodného lineárního vedení je potřeba vzít v úvahu dostupný zástavbový prostor, požadovaný posuv a zatížení. Níže uvedené hodnoty pomohou určit nejvhodnější velikost lineárního vedení.
Hodnoty uvedených zatížení jsou pouze orientační a nezahrnují všechny vlivy působící při použití daného výrobku. Uživatel sám musí rozhodnout pro každý individuální případ, jestli vybraný výrobek je vhodný pro zamyšlené použití. Okolní prostředí a doba používání mohou ovlivnit hodnoty daného zatížení.



Pro lineární vedení se většinou neuvádí detaily zatížení kroutícím momentem, protože se běžně montují v párech. Zatížení u těchto velikostí je minimální a předpokládá se, že okolní konstrukce má dostatečnou pevnost a tuhost. Přenos zatížení kroutícím momentem je v omezené míře povolený.
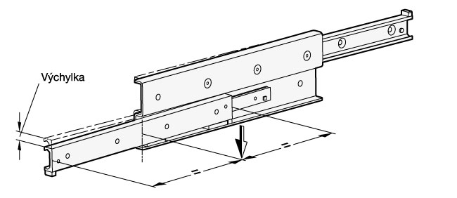
Statické zatížení a průhyb
Hodnoty zatížení uvedené v tabulce se vztahují k maximálnímu přípustnému zatížení působícímu ve středu plně vysunuté profilové kolejnice ve třetím segmentu. Jsou-li dané hodnoty dodrženy a pokud je teleskopický lineární posuv zcela vysunut, na konci jezdce nebo kolejnice dojde k mírné deformaci (prohnutí). To obvykle nemá nepříznivý vliv na správnou funkci aplikace. V případě potřeby mohou být na požádání poskytnuty orientační hodnoty.

Montážní šrouby, použití montážních otvorů
Pro montáž se používají standardní zapuštěné šrouby DIN 7991-10.9, které se zašroubují s doporučeným utahovacím momentem. V závislosti na typu lineárního vedení nemusí být pro montáž použité všechny montážní otvory. Obecně platí, že tyto otvory mohou zůstat nevyužité. Ve výjimečných případech, zvláště u vedení s oboustranným výsuvem, pak tyto montážní otvory umožňují přístup pro vyšroubování dorazových šroubů a následné vytažení jezdce. Tyto šrouby pak mohou být dány zpátky na místo.
Rychlost posuvu, prokluz klece
Rychlost posuvu lineárních vedení může být až 0,8 m/s. Konkrétní aplikace a délka instalace může mít vliv na tuto hodnotu. V případě rychlých změn směru posuvu a vysoké hodnoty zrychlení pak může docházet k prokluzu klece, zvláště u dlouhých kuličkových klecích. V takových případech se klec nepohybuje synchronizovaně poloviční rychlostí vzhledem k rychlostí jezdce, ale postupně díky prokluzu ztrácí svou správnou polohu. Kdykoliv je to možné, může se posunout jezdec do krajní polohy své pojezdové dráhy a tím dojde k nastavení klece zpátky do správné polohy.
Lineární vodící systémy umožňují vytvořit snadný a spolehlivý lineární pohyb mechanismů. Jejich hlavními provozními výhodami jsou nízké nároky na údržbu, dlouhá životnost a tichý chod. Tyto vlastnosti dělají lineární vodící systémy nepostradatelnými složkami pro efektivní a bezpečný pohyb zařízení. Rovněž vyhovují zařízením s nízkými nároky na potřebnou energii.
Sortiment zahrnuje všechny díly potřebné pro konstrukci a montáž lineárních vodících systémů, které jsou kompaktní a dají se snadno sestavit a nainstalovat. Všechny lineární vodící systémy se skládají z jedné krajní kolejnice s kladkami nebo pojezdovými jednotkami pohybujicími se uvnitř kolejnice.
Kolejnice jsou základem pro lineární vodící systémy. Mohou být konstruovány v provedení pro fixní nebo plovoucí vedení. U typu pro fixní vedení jsou kladky vedené uvnitř kolejnice dvěma plochami, zatímco u typu pro plovoucí vedení jsou vedené pouze jednou plochou. Díky kombinací obou typů lze korigovat případné odchylky nebo chyby v rovnoběžnosti nosné konstrukce. Přípravné práce na nosné konstrukci, včetně přesného obrábění, tak mohou být omezené na minimum. Oba typy kolejnic mohou být namontovány dvěma způsoby: pomocí válcových otvorů nebo pomocí kuželových samostředících otvorů s úhlem 90°.
Pojezdové jednotky jsou k dispozici ve 3 různých typech provedení, které se liší podle jejich radiálního nebo axiálního montážního uspořádání, podle materiálů a podle stupně těsnění. Všechny pojezdové jednotky se skládají ze 3 kladek, přičemž prostřední se vždy dodává s excentricky nastavitelným ložiskovým čepem pro určení počáteční tuhosti pojezdu a vůle uvnitř kolejnice. V závislosti na typu kolejnice mohou být stěrače namontovány na obou koncích pojezdové jednotky.
Pojezdové kladky mají podobnou konstrukci jako kuličková ložiska s hlubokou drážkou. Mají neodnímatelný ložiskový čep, který se používá pro montáž.
Pro speciální aplikace mohou být pojezdové kladky a stěrače dodány odděleně od pojezdových jednotek.
Všechny konstrukční varianty jsou k dispozici ve jmenovitých rozměrech kolejnic h1 = 18, 28, 35 a 43 mm. Kromě standardního rozsahu mohou být také dodávány v délkách až 3600 mm v jednom kusu nebo jako kombinované kolejnice k individuálním a přizpůsobeným požadavkům.

Za účelem zajištění maximální pružnosti jsou systémy lineárních vodících kolejnic vyrobeny z níže uvedených součástí. V závislosti na požadavcích lze příslušné součásti dodat v požadovaném množství. Vzhledem k tomu, že lineární vodící kolejnice a pojezdové jednotky se v mnoha aplikacích sestavují odděleně, jsou tyto díly dodávány nesmontované a zabalené odděleně.
Na požádání jsou k dispozici plně předem sestavené systémy lineárních vodících kolejnic včetně kolejnic GN 2422 a pojezdových jednotek GN 2424.


